ВБК-1.8

Чертеж изделия:
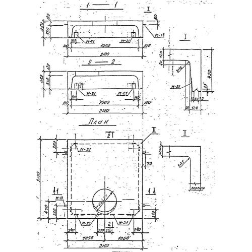
Характеристики изделия:
ПараметрЗначение
длина2100 мм
ширина2100 мм
высота450 мм
масса2000 кг
нормативный документСерия 3.903 КЛ-13

ВБК-1.8 Блоки камеры верхние по Серии 3.903 КЛ-13.