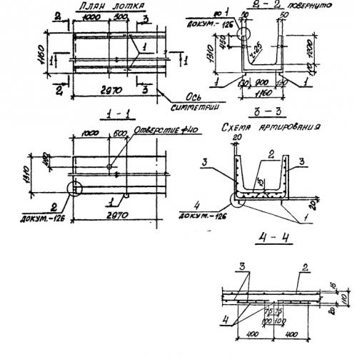
Л 9а лоток

Чертеж изделия:
Характеристики изделия:
ПараметрЗначение
длина2970 мм
ширина1160 мм
высота1310 мм
масса2550 кг
нормативный документСерия 3.900.1-12

Л 9а  Лотки теплотрасс по Серии 3.900.1-12.