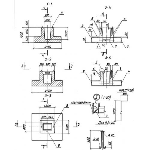
Ф 1 фундамент

Чертеж изделия:
Характеристики изделия:
ПараметрЗначение
длина2400 мм
ширина2700 мм
высота1300 мм
вес9900 кг
серия3.501.1-165

Ф 1 Фундаментные блоки по серии 3.501.1-165.