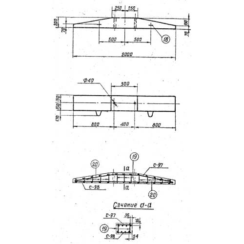
АР 7 Ригель

Чертеж изделия:
Характеристики изделия:
ПараметрЗначение
длина2000 мм
ширина300 мм
высота200 мм
масса230 кг
нормативный документСерия 3.407-115

АР 7  Ригель анкерных опор  Серия 3.407-115.