СУ 7-30

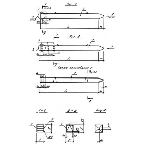
Чертеж изделия:
Характеристики изделия:
ПараметрЗначение
длина7000 мм
ширина300 мм
высота300 мм
масса1620 кг
нормативный документСерия 3.016.1-9

СУ 7-30  Сваи-колонны усиленного армирования (для особых климатических условий) Серия 3.016.1-9.