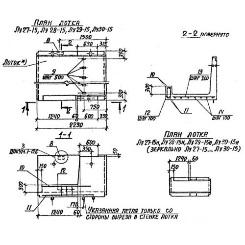
Лу 27/2 лотки угловые

Чертеж изделия:
Характеристики изделия:
ПараметрЗначение
длина2230 мм
ширина2780 мм
высота760 мм
масса4320 кг
нормативный документСерия 3.006.1-2/87

Лу 27/2  Лотки теплотрасс угловые Серия 3.006.1-2/87.