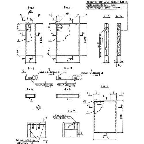
ПСД 9.30.30

Чертеж изделия:
Характеристики изделия:
ПараметрЗначение
длина880 мм
ширина300 мм
высота2980 мм
вес1500 кг
серия1.832.1-9

ПСД 9.30.30 Панели стеновые двухслойные по серии 1.832.1-9.