3БФ 3

Чертеж изделия:
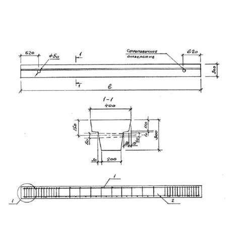
Характеристики изделия:
ПараметрЗначение
длина2950 мм
ширина400 мм
высота300 мм
вес650 кг
серия1.815.1-1

3БФ 3 Балки фундаментные по серии 1.815.1-1.