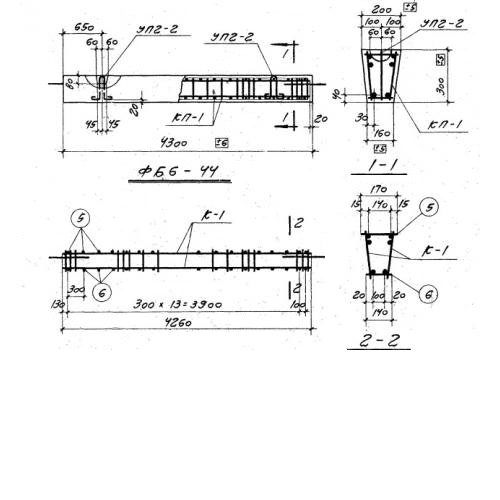
1БФ 6 балки

Чертеж изделия:
Характеристики изделия:
ПараметрЗначение
длина4750 мм
ширина200 мм
высота300 мм
масса650 кг
нормативный документСерия 1.415.1-2

1БФ 6  Балки фундаментные Серия 1.415.1-2.