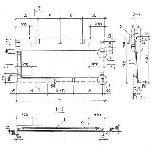
ПБК 33.11 плиты балконные

Чертеж изделия:
Характеристики изделия:
ПараметрЗначение
длина3290 мм
ширина1140 мм
высота150 мм
масса1075 кг
нормативный документСерия 1.137.1-9

ПБК 33.11  Плиты балконные консольные Серия 1.137.1-9.