НЦ 24.20.55

Чертеж изделия:
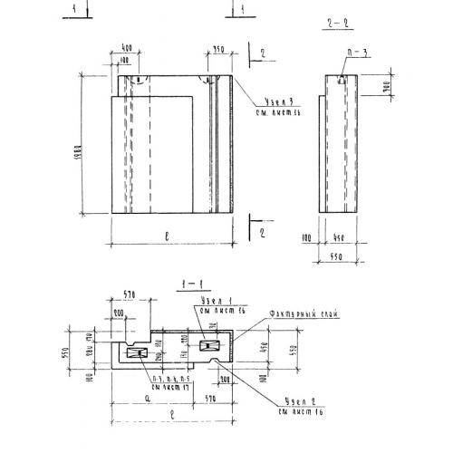
Характеристики изделия:
ПараметрЗначение
длина2350 мм
ширина550 мм
высота1980 мм
вес3675 кг
серия1.116-5

НЦ 24.20.55 Наружные цокольные угловые блоки по серии 1.116-5.