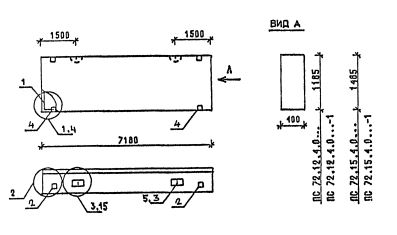
ПС 72.15.4.0 панели стеновые
Характеристики изделия:
| Параметр | Значение |
|---|---|
| длина | 7180 мм |
| ширина | 400 мм |
| высота | 1485 мм |
| масса | 6110 кг |
| нормативный документ | Серия 1.030.1-1/88 |
Цена:
Рассчитать стоимостьПС 72.15.4.0 Панели стеновые Серия 1.030.1-1/88.
| Параметр | Значение |
|---|---|
| длина | 7180 мм |
| ширина | 400 мм |
| высота | 1485 мм |
| масса | 6110 кг |
| нормативный документ | Серия 1.030.1-1/88 |
ПС 72.15.4.0 Панели стеновые Серия 1.030.1-1/88.