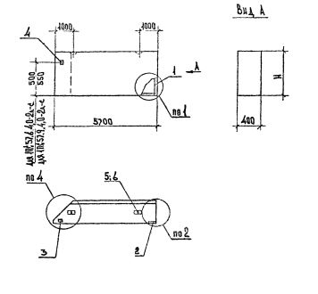
ПС 57.6.4.0 панели стеновые
Характеристики изделия:
| Параметр | Значение |
|---|---|
| длина | 5700 мм |
| ширина | 400 мм |
| высота | 585 мм |
| масса | 1840 кг |
| нормативный документ | Серия 1.030.1-1/88 |
Цена:
Рассчитать стоимостьПС 57.6.4.0 Панели стеновые для стен многоэтажных зданий в районах сейсмичностью 7, 8 и 9 баллов Серия 1.030.1-1/88.