КН 36

Чертеж изделия:
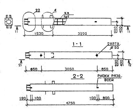
Характеристики изделия:
ПараметрЗначение
длина4750 мм
ширина400 мм
высота400 мм
масса1899 кг
нормативный документСерия 1.020.1-2с/89

КН 36  Колонны нижние Серия 1.020.1-2с/89.