2Р 6

Чертеж изделия:
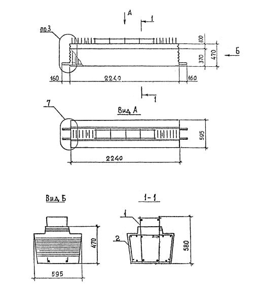
Характеристики изделия:
ПараметрЗначение
длина2560 мм
ширина595 мм
высота580 мм
масса1300 кг
нормативный документСерия 1.020.1-2с/89

2Р6  Ригели для двустороннего опирания плит  Серия 1.020.1-2с/89.