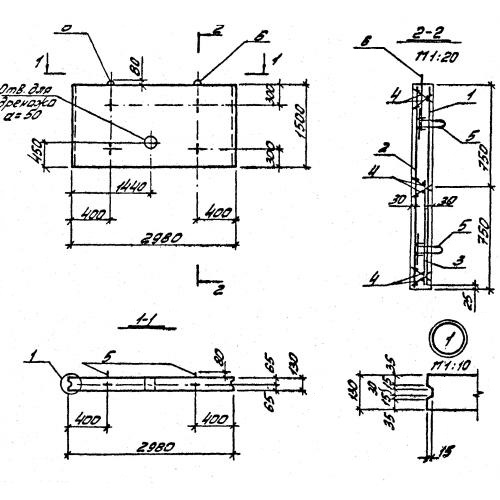
ПЛ 1 плиты лицевые

Чертеж изделия:
Характеристики изделия:
ПараметрЗначение
длина2980 мм
ширина130 мм
высота1500 мм
масса1500 кг
нормативный документГОСТ 26815-86

ПЛ 1  Плиты лицевые ГОСТ 26815-86.